Địa chỉ
72 - 74 Phạm Hữu Chí, Phường 12, Quận 5, Tp.Hồ Chí Minh
Hỗ trợ nhanh
+842838547570
Email liên hệ
chkimthanh72@gmail.com
Không có sản phẩm nào trong giỏ hàng
Ắc quy - Nhớt - Phụ gia
37 Sản phẩm
Honda
7459 Sản phẩm
Piaggio
145 Sản phẩm
Suzuki
133 Sản phẩm
SYM
448 Sản phẩm
Yamaha
5390 Sản phẩm
SKU: 42650K3AV00ZA
2.040.000 vnđ
SKU: 53215K56V00ZC
80.000 vnđ
SKU: 42650K1FV01ZB
1.980.000 vnđ
SKU: 61110K1GV00ZB
200.000 vnđ
SKU: 61110K1FV00ZC
SKU: 61110K66V00ZR
205.000 vnđ
SKU: 80102K0RV00
55.000 vnđ
SKU: 64322K0RV00ZC
165.000 vnđ
SKU: 83500K0SV00ZD
655.000 vnđ
SKU: 53208K0RV00ZA
135.000 vnđ
Ắc quy xe máy
Dầu nhớt xe máy
Dung dịch làm mát
Motul
Shell
@ (A Còng)
@Stream
Air Blade
Click - Vario
Dream - Wave
Dylan
Lead
PCX
Scoopy
SCR
SH
Spacy
Vision
Winner - Sonic
Fly
Liberty
Vespa LX
Vespa Primavera
Zip
Hayate
Raider
Sapphire
Satria
Viva
Attila
Enjoy
Excel 2
Joyride
Shark
Venus
Acruzo
Cuxi
Exciter
Freego
Janus
Jupiter
Mio
Nouvo
Nozza - Grande
NVX
Sirius
Taurus
Ya Z
Danh mục: Honda / Winner - Sonic / Sonic
Chọn loại xe
K56N00 – Bộ nồi trước
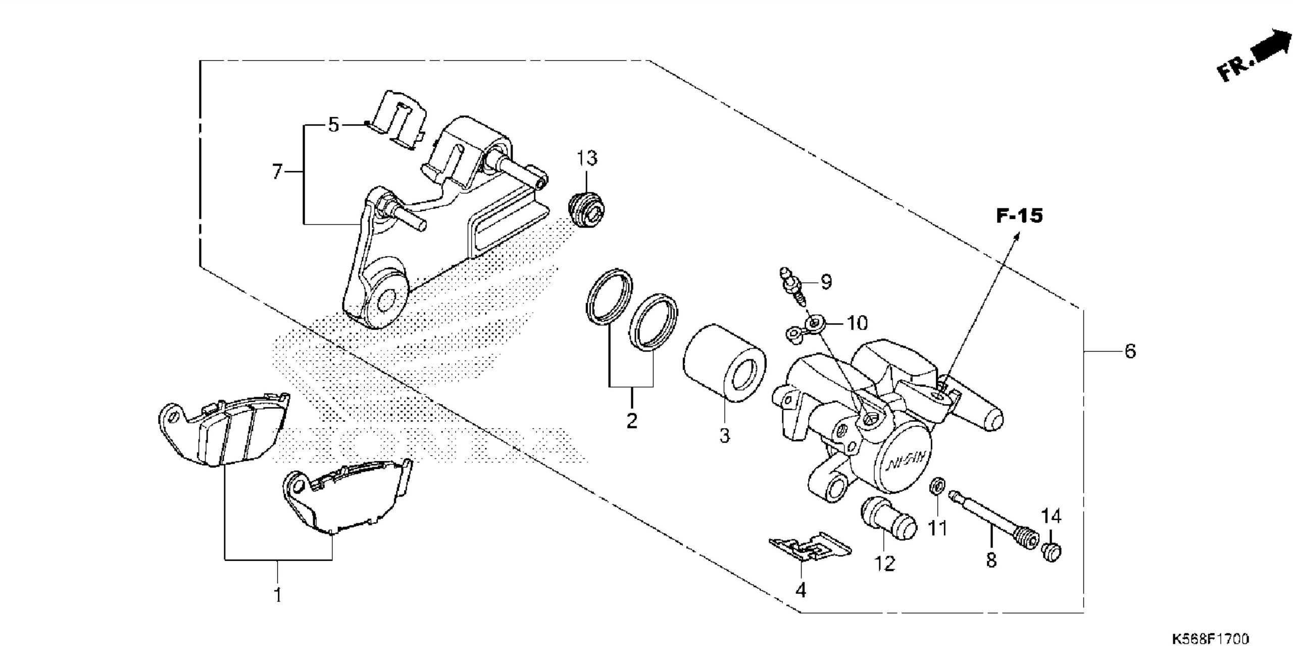
K56N00 – Bộ phanh dầu sau
K56N00 – Bộ phanh dầu trước
K56N00 – Bộ tăng sên cam
K56N00 – Bộ xupap
K56N00 – Càng chuyển số
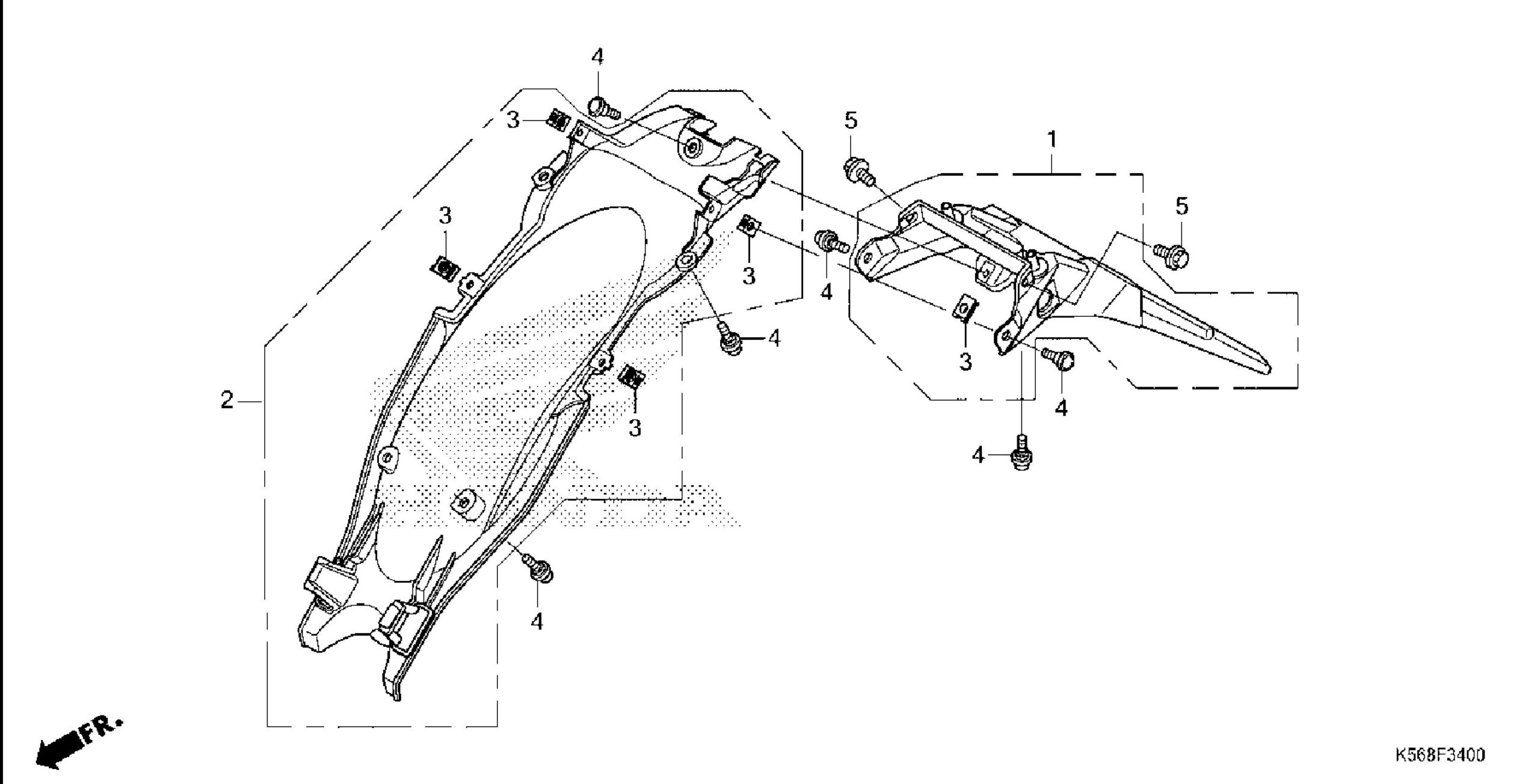
K56N00 – Chắn bùn sau
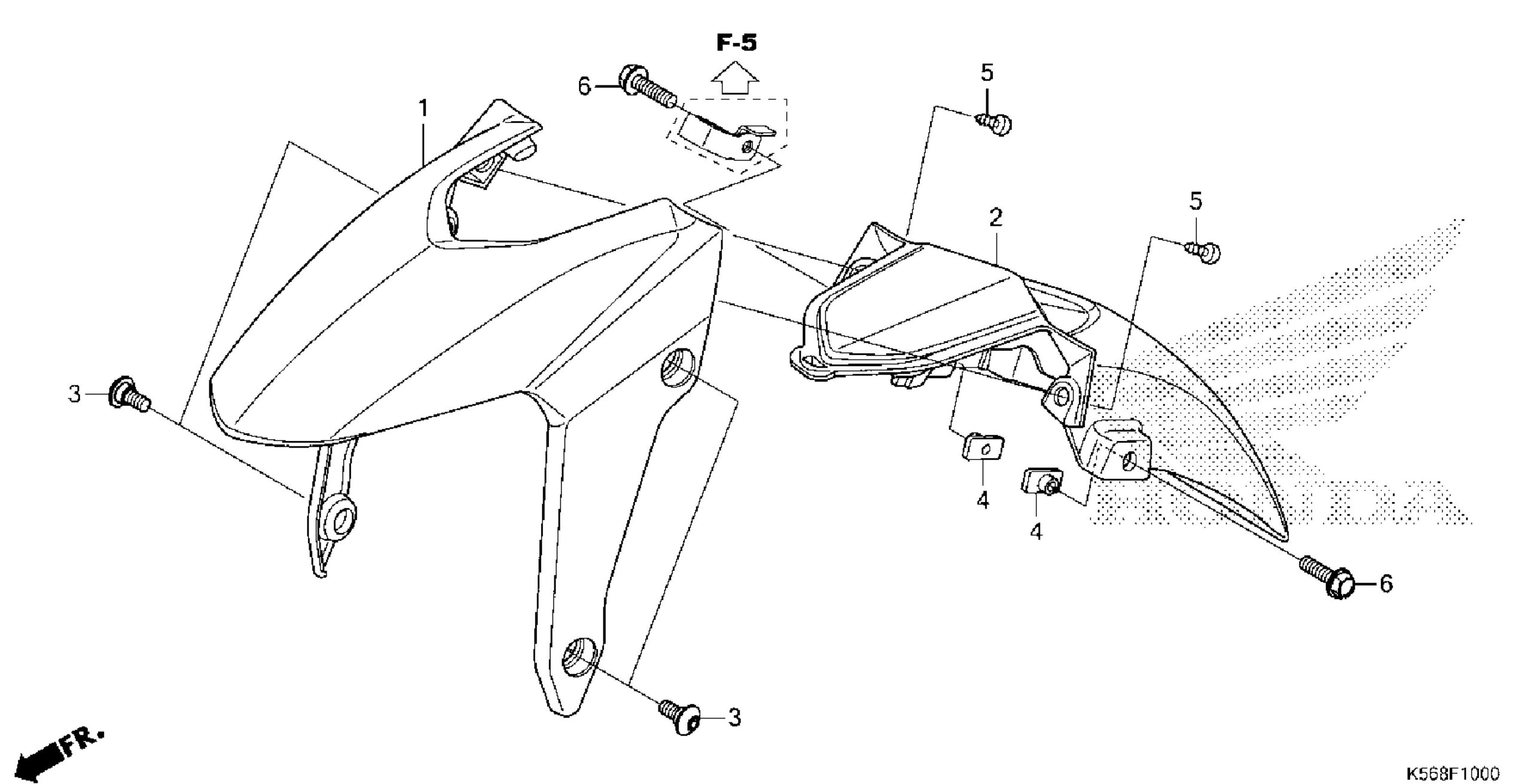
K56N00 – Chắn bùn trước ( Vè trước )
K56N00 – Chẳng 3 ( Ngã 3 ) Chén cổ
K56N00 – Cốt giò đạp
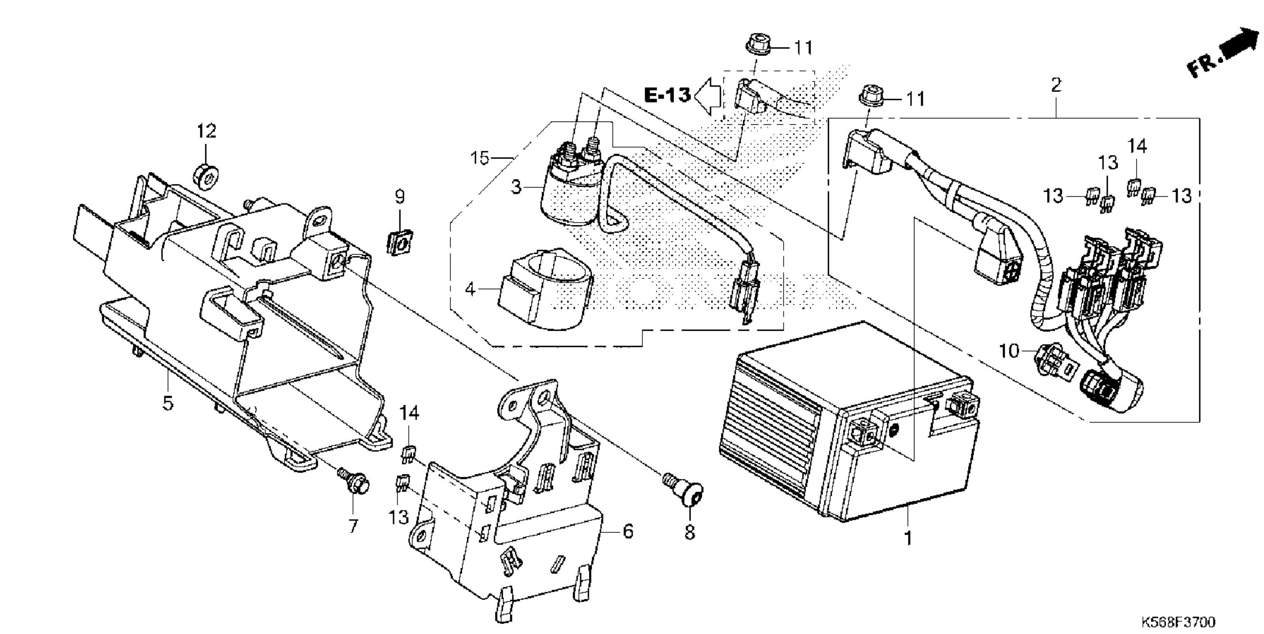
K56N00 – Cục đề
K56N00 – Đèn lái sau
K56N00 – Đồng hồ
K56N00 – Fa đèn trước
K56N00 – Hệ thống điện
K56N00 – Họng xăng , Bét phun
K56N00 – Khóa máy , Ghi đông
K56N00 – Khung xe
K56N00 – Kiếng hậu
K56N00 – Nắp đầu quy lát